ISO 8510-2
ISO 8510-2 specifies the 180-degree peel adhesion test for evaluating the adhesive peel strength of bonded materials. This standard is essential in industries such as packaging, medical devices, electronics, and adhesives, where strong and reliable adhesion is crucial. The test provides critical insights into the performance and durability of adhesives by measuring the force required to separate a flexible adherend from a rigid adherend under controlled conditions.
Test Procedure as per ISO 8510-2
The ISO 8510-2 test method involves preparing and testing bonded specimens under standardized conditions. The steps include:
1. Test Specimen Preparation
- A bonded flexible-to-rigid assembly is prepared using the adhesive under evaluation.
- The rigid adherend can be metal, plastic, wood, or rubber with specified thicknesses.
- The flexible adherend should withstand a 180-degree bend without deformation.
- Adhesive application follows ISO 17212 or manufacturer guidelines.
- The bond line must be evenly applied and fully cured before testing.
2. Testing Apparatus Requirements
- A peel test machine (tensile testing machine) is required.
- The machine must maintain a constant rate of grip separation (typically 100 mm/min ± 10 mm/min).
- The grips must securely hold the rigid and flexible adherends.
- Force measurement must be accurate within ±2%.
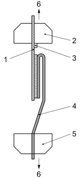
3. Testing Procedure
- The rigid adherend is clamped into the machine’s fixed grip.
- The flexible adherend is clamped into a self-aligning grip.
- The machine applies force parallel to the bonded plane, pulling the flexible adherend at a 180-degree angle.
- The test continues until at least 125 mm of the bonded length has separated.
- The peel force is recorded over 100 mm, excluding the first 25 mm.
- The failure mode (adhesive, cohesive, or adherend failure) is noted.
4. Recording Peel Testing Results
- The test determines the average peel force in Newtons over the test length.
- Maximum and minimum forces are recorded.
- Results help in comparing adhesive formulations and ensuring consistency in production.
Significance of the 180 Degree Peel Adhesion Test
The 180-degree peel adhesion test is widely used for assessing the peel resistance of adhesives. It helps manufacturers ensure their adhesive products meet industry performance expectations. Key applications include:
- Quality control for adhesives used in packaging and medical applications
- Research and development to enhance adhesive formulations
- Compliance with international adhesive testing standards
Precision Peel Test Machine for Adhesive Tape
- Precision and accuracy (force measurement within 2% tolerance)
- Adjustable grip separation rates
- PLC control
- Data recording capabilities for analysis
- More about Peel Test Machine…
For high-precision adhesive peel strength testing, contact Cell Instruments today!
FAQs
1. What is ISO 8510-2?
ISO 8510-2 is an international standard that defines the 180-degree peel adhesion test to measure adhesive peel strength.
2. Why is the 180-degree peel adhesion test important?
This test evaluates the bonding strength of adhesives, ensuring they meet industry requirements for durability and reliability.
3. What equipment is needed for the ISO 8510-2 test?
A peel test machine, capable of maintaining a constant grip separation rate, accurate force measurement, and secure grips.
4. What factors affect peel strength in this test?
Factors include adhesive type, surface preparation, adherend material, and test speed.
5. Where is the ISO 8510-2 test used?
Common industries include packaging, medical, electronics, automotive, and adhesive manufacturing.

